设计应用-所有幻灯片应用设计模板moban01pot怎么做
▲更多精品,关注“材料公社”
近几年,铝板在建筑景观设计中应用很广泛,大到建筑外立面,小到景墙的一个分割条,需要金属装饰的时候可能都会使用铝板。
之前,搜建筑解析过。
今天我们来看看铝板在景观示范区的应用设计。
实景图
首先,从分类上来说,用于建筑装饰的铝板主要分为“铝单板”和“复合板”两大类型。
铝单板是指采用铝合金板材为基材,经过铬化等处理后,再经过数控折弯等技术成型,采用氟碳或粉末喷涂技术设计应用,加工形成的一种新建筑装饰材料。平时常说的穿孔铝板、仿石材铝板、木纹转印铝板、镜面铝板等都是属于这一类铝板。
铝复合板是一个统称,主要是指通过种种复杂的加工手段将经过化学处理的涂装铝板(铝单板)作为表层材料,复合在适合的基层材料上,最终形成铝复合板。根据复合基层材料的不同,铝复合板具有不同的材料特性。比较常见的如铝塑板、蜂窝铝板等。
对比图
下面我们具体来了解一下常见的铝单板以及复合板种类。
1
穿孔铝板
首先我们来看看铝单板中的穿孔铝板。
穿孔铝板是指用纯铝或铝合金材料通过压力加工制成(剪切或锯切)的获得横断面为矩形,厚度均匀的矩形材料。其实就是打了孔的金属铝板,又名冲孔铝板、穿孔金属板、穿孔筛网。
(搜建筑往期单篇重点解析:)
穿孔铝板和其他金属材料相比,表面很光滑,具有耐高温、耐腐蚀、防火、防潮、防震、结构轻巧稳定、建筑物理环境均好、视线开阔、造型美观等优点,是一种降低噪音并兼有装饰作用的新材料。
如阜阳市中梁.正荣清河大观的示范区,在材料选择上,外立面选用了超白玻璃、穿孔铝板和U型玻璃三种材料。
实景图 摄影:桔伴视觉-左斯洋
其中穿孔铝板进行了参数化设计,将阜阳山水以水墨的形势刻印在建筑上,向城市文化和环境致敬。
实景图 摄影:桔伴视觉-左斯洋
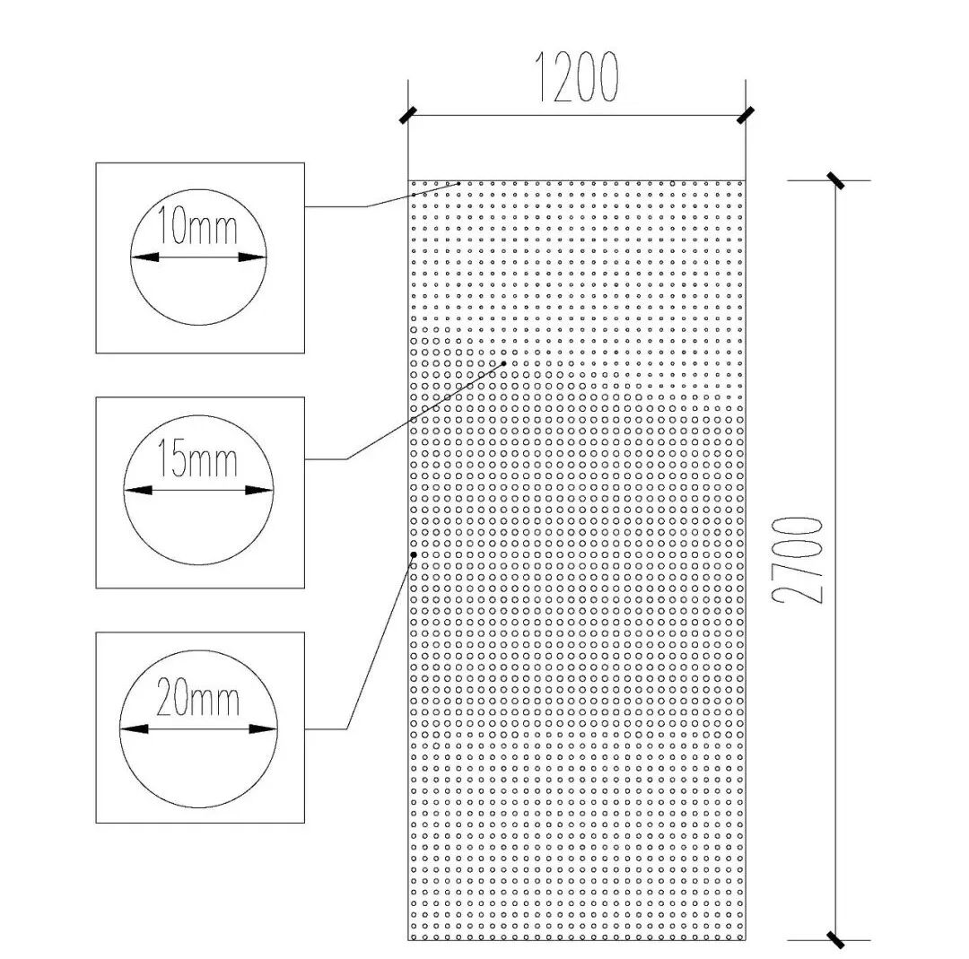
在孔洞尺寸的设计上,考虑日景及灯光的双重展示个性,选用20mm、15mm、10mm的规格进行排列,呈现出透彻到朦胧的多层视觉效果。
实景图 摄影:桔伴视觉-左斯洋
穿孔幕墙图
武汉龙湖清能·天奕示范区的建筑主体材料以玻璃幕墙和纯白色穿孔铝板为主。
实景图 摄影:纯点建筑摄影
玻璃幕墙使室内外互为景观,保证了良好的视觉通透性;珍珠白色铝板经过精细的节点加工,构成曲面围护体系,如白云般轻盈的,在白日与夜晚体现出不同的魅力。
效果示意图
漳州新城·吾悦首府示范区,建筑材料选择阳极氧化穿孔复合板配以玻璃幕墙来分割和界定空间设计应用,塑造空间的流动性和整体性。
实景图摄影:筑作视觉
并提取漳州市花为基本元素,抽象化为六瓣花的形象,运用参数化的手段将形象代号与穿孔铝板有机的融合。
局部细节图摄影:筑作视觉
示意图
墙身节点图
整体造型轻盈灵动,户外的自然光与景观渗透进室内,空间开敞明亮,焕发出新的生机。
实景图摄影:筑作视觉
青岛·和昌海云曦岸白色穿孔铝板包裹的建筑立面部分呈现的实体感,又不完全造成光线上的遮蔽。
实景图©行知影像
建筑师设计了单元式的标准渐变穿孔板模块,并且内置亮化设备。因此不论建筑内外、不论白天、夜晚,建筑都将呈现出闪闪星光的细节之感。正所谓“日月之行,若出其中,星汉灿烂,若出其里”。
立面弧度造型及渐变穿孔铝板细节©行知影像
渐变穿孔铝板标准单元大样图
色调光照与外部空间的相呼应,统一协调地给人强烈的艺术氛围感。
福建省东山岛高登喜岸生活艺术中心,穿孔铝板疏密有致的开孔设计,使立面上白日如斑驳树影,夜晚似点点星光。
实景图 摄影:直角建筑摄影
实景图 摄影:直角建筑摄影

2
仿石材铝板
仿石铝单板的外观,纹路都与石材非常相似,在装饰的效果上与石材无二,在性能上,仿石铝单板的物理性能,比石材更加优异,仿石纹铝单板弥补了众多石材本身的缺陷,凭借本身外观与物理性能,等成为了石材的理想替代品。
(搜建筑往期单篇重点解析:)
其具有环保节能、防水耐污、阻燃性高、重量轻便、施工快捷、物美价廉、可塑性强、颜色可定制、使用寿命长等优秀的物理性能,在室内外使用都能经受住环境变化带来的侵袭。
温州华润悦未来·山水书院,外立面建筑材料以木纹格栅、金属屋面、玻璃幕墙、仿石铝板等轻盈质感为主,以现代化的设计语汇,重现新时代语境下的温州城市地域化塑造。
实景图摄影:纯点建筑摄影
立面材质分析
实景图摄影: 纯点建筑摄影
成都首开金地 • 鹭鸣北湖的示范区,将建筑首层架空,利用深色仿石铝板装饰结构柱,弱化其存在,同时采用下小上大的倒锥形结构,让整个建筑呈现一种漂浮感、失重感,进而达到首层消隐的效果。
二层主体空间以大面积超白玻璃和香槟金、香槟银铝板为主,打造一艘具有动感的“舟”。自上而下看,香槟金色格栅天花板丰富视觉效果,香槟银铝板与灯带勾勒出波浪般起伏的屋面。
材料分析
杭州中海·黄龙云起示范区整体选用仿石纹理铝板、仿铜拉丝铝板,LOW-E白玻璃幕墙及浅灰色铝板、深灰色铝板五种标识性材料,结合不同的功能空间合理划分材质范围。
实景图
江西万科湾之荟 · ONE BOX外立面选用了夹绢玻璃和仿石喷涂铝板作为建筑大面材料。
实景图 建筑摄影:胡义杰
夹绢玻璃&仿石喷涂铝板
建筑的整体基调是活泼的,亲人的,设计师主张运用暖色调的色系,搭配表面的纹理以及颗粒质感,在整个场景画面中相互映射,达到一种平衡的和谐。
色彩搭配
色彩与肌理感的选择
3
仿木纹铝板

仿木纹铝板也被称为木纹转印铝板,是以高等级铝合金为主要材料,通过转印工艺,将木材的纹理及颜色呈现在铝板上的装饰材料。
它具有木质的纹理,铝板的特性,有着非常多的优点。如效果仿真、绿色环保、重量轻便、防火防腐防潮、可加工各种几何形状、易打理、使用寿命长等。
近年来发展迅速,在铝型材幕墙、门窗和家居上都有着越来越广泛的应用,成为铝型材行业新的增长点之一。
如成都景瑞誉璟风华示范区选取灰色铝板和仿木纹铝板搭配高反射的超白玻璃,虚实碰撞。
实景图 摄影:傑意建筑摄影工作室
的屋面起伏变化,于转角形体交错起翘形成制高点,配以仿木纹铝板的对比勾勒,线条感与连续感得到升华。
实景图 摄影:傑意建筑摄影工作室
分析图
再比如淮安中海九樾示范区,外立面冷色的金属与玻璃同暖色的木纹转印铝板形成戏剧化色温对比,大堂通透的超白全玻璃幕墙和顶部轻盈的一体化吊顶模糊室内外界限。
实景图 ©iNNS合什建筑空间影像
实景图 ©iNNS合什建筑空间影像
淮安中海淮上景明苑示范区在材质接口处采用巧妙的“隐形”手法,用大面积高透玻璃、平直歇山屋顶、完整连贯的木纹铝板吊顶、见光不见灯的收口等充满韵律感的设计来完善建筑细部。
实景图 ©《淮楼》赵耀
实景图 ©《淮楼》赵耀
铝板胶缝设置在专门定制的木纹铝板的凹槽中,并设置同材质盖板遮掩,形成完整连贯的吊顶界面。
吊顶“隐形”交接,吊顶铝板交界处的隐藏式处理
建筑室外吊顶采用桦茶色木纹铝板和超白高透落地玻璃窗的碰撞营造了一种漂浮感。
实景图 ©《淮楼》赵耀
奥园·弘阳佛山公园一號示范区的主体建筑借鉴拙政园“见山楼”形制与比例,融入飞檐翘角、雕花格栅等形式,形成平淡疏朗的建筑气质。
实景图 摄影:匠力影像-陈勇
材质上应用金属屋顶、转印木纹铝板等现代新材料,以及金属和石材的构造创新,塑造精美细腻的视觉效果,符合岭南人居温润雅致的生活情趣。
材料分析图

4
镜面铝板
镜面铝板是指通过轧延、打磨等多种方法处理,使板材表面呈现镜面效果的铝板。一般国外的镜面铝板都采用轧延的方法,制造成卷料或板料。
其拥有重量轻、耐腐蚀、抗高温、不易生锈、用途广泛、装饰效果强等优良特性,由于表皮的镜面反射,可将周围环境联系在一起,具有很强的视觉效果,在很多领域都发挥着重要作用。
如重庆龙湖云瑶玉陛示范区,底部盒子的设计为黑色镜面铝板,匍匐并消隐在山坡之上。金属表皮映衬着光影下的婆娑树枝,柔和轻盈朦胧的形象展现在眼前。
实景图摄影:三棱镜空间摄影
表皮、空间与光线之间建立了良性的对话,以一种婉约的形式与外部空间联为一体。
表皮材质分析图
5
其他铝单板
除上述四种铝板的常见类型外,铝板还可采用先加工后喷漆工艺,加工成平面、弧型和球面等多种几何形状,满足建筑复杂的造型要求。
如金昌·烟波辰鹭示范区采用了双曲铝板,流线形体的流畅弧度,散发出现代感与艺术感,但对于制造和安装而言,这是比较艰难的挑战。
实景图 摄影:吴清山
首先通过软件3D建模,之后采用BIM软件进性分解,开平、开料、冲孔、开角、滚弯、卷形、折边、种钉……单块制作完成再焊接和加筋组装,每个细节都不容有误。
厦门保利阅云茶社依托黄金比例螺旋线,用灰色铝板打造螺旋房顶,完成了外部空间的引入、流转、融合。
螺旋铝板屋顶
用现代化手法创造出了有秩序的建筑形态,在规模化产业化的社区中回归自然的节奏与韵律。
分析图
6
蜂窝铝板
蜂窝铝板是结合航空工业复合蜂窝板技术而开发的金属复合板产品系列。该产品采用“蜂窝式夹层”结构,即以表面涂覆耐候性极佳的装饰涂层之高强度合金铝板作为面、底板与铝蜂窝芯经高温高压复合制造而成的复合板材。
示意图
这种板材,会大大增强原本铝板的一个结构整体性,使它不易弯曲,尺度可以做到更大,平整度也会更好,只是成本会相对来说略有提升。
其特点为重量轻、强度高,可定制、安装简便(免焊接、无明钉)等。
比如杭源里的“超流体”艺术生活馆,圆角曲线的外边缘就采用超薄的蜂窝铝板包裹石材肌理的亚克力板,暗藏有LED灯,夜晚透光,大面积超白玻璃幕墙与水环境叠加,强化超流体建筑的反重力感。
实景图摄影:李冬
实景图摄影:孙磊
其后,经过多轮构造方式比选后,采用后段线条铝板弯折衔接前段弯弧线条的整体开模方式,将两段弯弧段线条焊接打磨,最终呈现平滑连续的线条效果。在施工精度控制上,前段弯弧采用工业精加工方式委托汽车生产厂家定制。
示意图©line+
太原·旭辉江山示范区外立面以红色陶土砖为主,辅之以银灰色铝板、深色金属、光面石材、高透玻璃等现代材料,打造传统、时尚、温暖鲜明的建筑效果。
实景图
并通过开放式砖幕墙和蜂窝铝板屋面体系,将屋顶排水天沟与造型相结合,将雨水管隐藏在红砖幕墙内壁之中,保证了简洁、纯粹的外立面效果。
分析图
孔雀城柏悦府的示范区选材遵从现代极简的设计原则,将石材、铝板、玻璃有机结合于纯粹的两层体量之中。首层形体采用“蓝眼睛”石材,并结合细致的金属收口及精致划分,使首层形体成为稳定又不失细部的基座。
实景图 ©北京锐景摄影有限公司
二层运用全幕墙+银色蜂窝铝板,勾勒出通透且充满科技感的极简形象。首二层体量上的错动叠合,结合材料的轻与重、虚与实的对比,充分表现出极简现代建筑所带来的视觉张力。
实景图 ©北京锐景摄影有限公司
实景图 ©北京锐景摄影有限公司
结语:
总体来说,铝板的出现给整个建筑行业注入了一股新鲜的血液,美观、惊艳,可谓是建筑装饰的形象‘代言人’,备受青睐,未来随着国家建筑节能政策和能源危机的影响,节能环保的铝板幕墙的使用比例会有更大的提升空间。
项目了解材料
材料厂家合作
扫描二维码 加好友联系
▼
电话: 15387295596

上一篇
